Поворотный подшипник бака
LDB®
Опорно-Поворотных Устройств бака

В бронетехнике соединение вращающейся башни с корпусом осуществляется с помощью поворотного устройства (OPU) или, проще говоря, плечевого ремня. OPU состоит из двух колец с внутренними беговыми дорожками, одно из которых установлено на башне, а второе на корпусе. Между кольцами проложены тела качения, которые обеспечивают вращение.
В танках в качестве элементов качения используются плечевые ремни со стальными кольцами и стальными шариками. В БМП, БМД и других объектах БТТ легкой категории для снижения веса используются кольца из алюминиевых сплавов и шарики из пластмасс STD-30S и SFD-30S. Оба кольца имеют тороидальные беговые дорожки.

Если раньше подобные ОПУСЫ удовлетворяли характеристикам боевых машин, то сегодня, в связи с возросшими требованиями к точности и надежности, выявился ряд их недостатков. Ударопрочность или грузоподъемность ОПУ, ограниченная величиной максимальных контактных напряжений в точке соприкосновения стальных шариков с беговыми дорожками, не обеспечивает сохранения его работоспособности при обстреле машин современными средствами поражения.
Тороидальные беговые дорожки из стальных плечевых ремней подвергаются упрочнению HDPE, в результате чего появляется эллиптичность колец, которая затем частично устраняется довольно трудоемким выпрямлением, а алюминиевые плечевые ремни вообще не выпрямляются. В этом случае, чтобы избежать “заклинивания” ОПУ, предусмотрены увеличенные зазоры, которые приводят к снижению точности наведения башни.

Обязательное наличие смазки в погонах при эксплуатации боевых машин в условиях повышенной запыленности, влажности, агрессивных сред и перепадов температур в широком диапазоне приводит со временем к образованию абразивной твердой корки из смеси пыли и смазки, что, в свою очередь, увеличивает момент сопротивление вращению турели, а следовательно, и нагрузка на привод горизонтального наведения, снижает и их производительность.

В 1970-х и 80-х годах за рубежом были разработаны и введены в эксплуатацию легкие OPUS с алюминиевыми кольцами и стальными роликами, а беговые дорожки выполнены в виде колец из стальной проволоки с коническими полосами. Итак, компания “Ротек”
(США) для танка компания Abrams разработала двухрядную роликовую опору качения с проволочными беговыми дорожками, изготовленными из специальной стали и установленными в тороидальных кольцевых отверстиях. Западногерманская компания “JNA” для танка Leopard разработала легкую однорядную опору качения с перекрещивающимися стальными роликами. Эти ОПУСЫ обладают значительно большей точностью, чем шарикоподшипники, благодаря тому, что проволочные беговые дорожки обладают способностью закручиваться в тороидальных кольцевых отверстиях, т.е. они являются самоустанавливающимися элементами, которые компенсируют перекосы колец. Такие опоры могут функционировать с легким натяжением.
Однако, по мнению самих зарубежных экспертов, такие ОПУСЫ конструктивно сложны и дороги в изготовлении, хотя это компенсируется более высокой точностью и эксплуатационными параметрами.

В те же годы перед отечественной оборонной промышленностью также была поставлена задача разработать новые ОПУ с улучшенными кинематическими и эксплуатационными характеристиками.
В результате был создан новый ОПУ для танка, который сочетал в себе простоту конструкции и технологичность, точные параметры, отвечающие современным требованиям, высокую ударопрочность и низкую стоимость. Такая разработка не имела аналогов за рубежом.
В качестве материала для элементов качения был выбран высокопрочный, ударопрочный пластик фенил С2. По своим физико-механическим свойствам фенилон С2 является высококачественным конструкционным материалом, пригодным для использования в экстремальных условиях: при воздействии больших статических и динамических нагрузок, в диапазоне температур от -80 °C до +200°C, в условиях трения, радиации и воздействия различных сред.

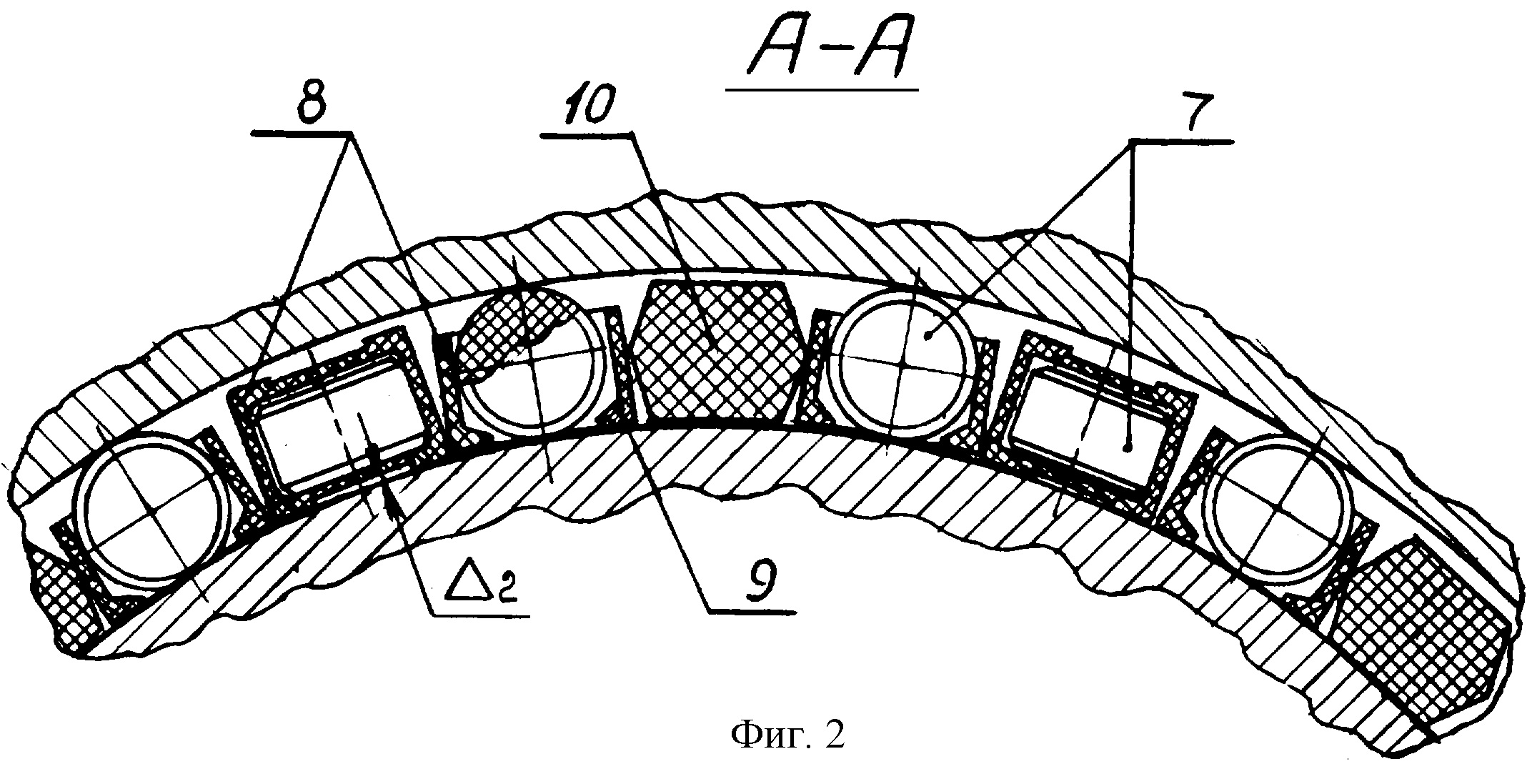
В новой гонке мячи были заменены эластичными роликами. Каждый ролик установлен в индивидуальном сепараторе, выполненном в виде формованной пластиковой коробки. Между сепараторами в определенном порядке расположены свободно скользящие упоры, также изготовленные из фенилена. Высота упора меньше диаметра ролика на величину допустимой упругой деформации последнего. Количество остановок может варьироваться или даже полностью отсутствовать в зависимости от размера OPU и указанных нагрузок. Внутреннее и наружное кольца имеют конические беговые дорожки, по которым катятся перекрещивающиеся ролики. Фрагмент поворотного устройства с элементами качения, изготовленными из фенилоина, показан на рисунке.







